Tuesday April 2026

হটলাইন

কনটেন্টটি শেষ হাল-নাগাদ করা হয়েছে: মঙ্গলবার, ২০ অক্টোবর, ২০২০ এ ১১:১৮ AM

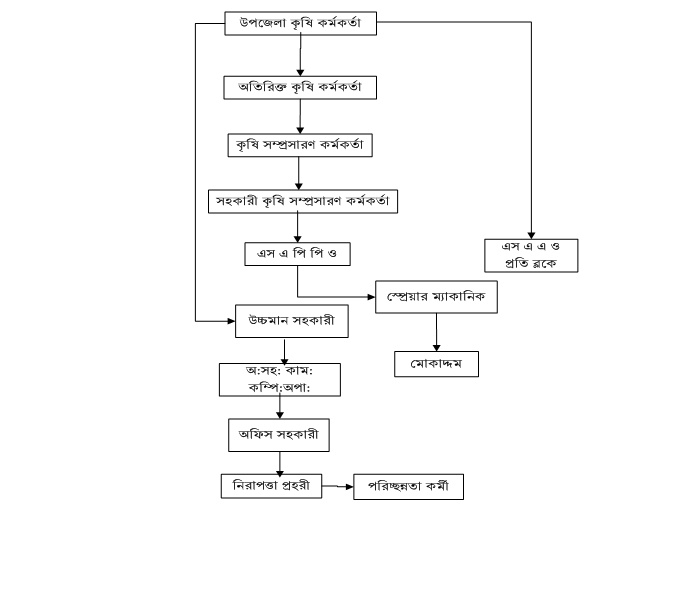
সাংগঠনিক কাঠামো

কন্টেন্ট: পাতা

ফাইল ১

এক্সেসিবিলিটি

স্ক্রিন রিডার ডাউনলোড করুন